
全国服务热线 语言选择 :EN

武大伟德国际1946bv官网股份有限公司
WUDAJUCHENG STRUCTURE CO.,LTD
1 技术介绍
伟德国际1946bv官网研究开发了一套水下钢围堰技术,应用于水下结构修复。针对桥梁桥墩水下施工,提出了将钢套箱套入被水淹没后的桥墩,并利用悬挂横梁将其定位悬挂于水下桥墩上,形成一个密闭的无水空间的技术方案。
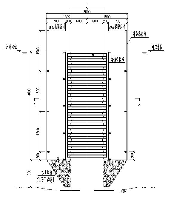
针对桥梁桩柱水下维修的施工围堰,属于建筑施工构件。筒体的周边和底面由两片或两片以上的筒壁板经连接件密封连接而成,筒壁板的底部与桥梁桩柱的外表面相贴合,各筒壁板的底部相互拼接成与桥梁桩柱截面形状相对应的通孔形状,由此形成围堰,将围堰内水排干后形成干地作业环境,由此可对桥梁桩柱进行维修和施工。
该技术装置和方法可对水下的桥墩进行施工作业,围堰薄,围水面积小,易于拼装和拆除,减少了施工量,成本较低,施工量小,使用安全可靠。已在福建宁德八座跨海大桥水下柱修复工程中成功应用。
2 工程应用
2.1 福宁高速公路跨海桥梁下部构造维修处治工程
本工程于2007年施工。主要施工内容包括:田螺特大桥、云淡1号桥、下白石特大桥、盐田大桥、杨家溪1号桥、杨家溪2号桥、八尺门特大桥、流美特大桥等八座跨海大桥的下部构造维修处治,采用水下湿固性环氧混凝土和水下外包高性能混凝土加固桩基。通过安装水下钢围堰提供施工作业面。该工程水流速5m/m,施工区域海水深27m,在水下9m以上设置钢围堰进行施工。
(a) 福建宁德八座跨海大桥水下桩基修复
(b) 水下钢围堰结构设计图及桩基修复设计图
图 福宁高速公路跨海桥梁下部构造维修处治工程